towar niedostępny
dodaj do przechowalni
Opis
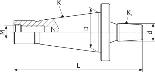
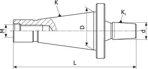
| K (DIN 2080) | SK/ISO 40 |
| K1 (DIN 238) | B18 |
| D | 31,75 mm |
| d | 17,78 mm |
| L | 124 mm |
| Masa | 0,39 kg |
