towar niedostępny
dodaj do przechowalni
Opis
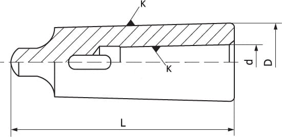
| K (Morse) | MK III |
| K1 (DIN 238) | MK I |
| D | 24,1 mm |
| d | 12,065 mm |
| L | 99 mm |
| Masa | 0,24 kg |
