towar niedostępny
dodaj do przechowalni
Opis
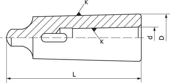
Parametry techniczne:
| K (Morse): | MK III |
| K1 (DIN 238): | MK II |
| D: | 24,7 mm |
| d: | 17,78 mm |
| L: | 112 mm |
| Masa: | 0,12 kg |
