towar niedostępny
dodaj do przechowalni
Opis
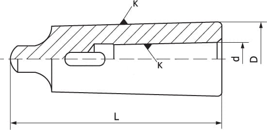
Parametry techniczne:
| K (Morse): | MK IV |
| K1 (DIN 238): | MK II |
| D: | 31,6 mm |
| d: | 17,780 mm |
| L: | 124 mm |
| Masa: | 0,5 kg |
