towar niedostępny
dodaj do przechowalni
Opis
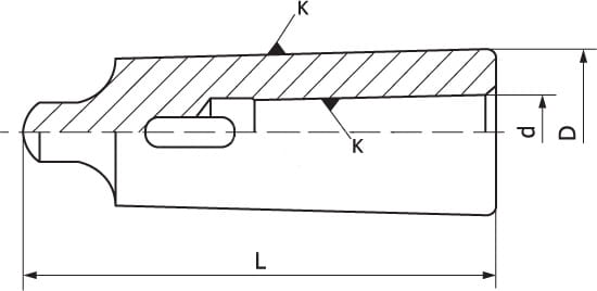
Parametry techniczne:
| K (Morse): | MK IV |
| K1 (DIN 238): | MK III |
| D: | 32,4 mm |
| d: | 23,825 mm |
| L: | 140 mm |
| Masa: | 0,38 kg |
